聚焦 科技、软件与AI领域 的优质内容分享
每日精选 各种实用软件、AI工具、GitHub 优质项目、iOS&安卓(破解)脚本(软件)、4K影视资源与玩机技巧,让探索科技成为生活方式

💬 讨论组: @JianjiaoQun
🔍 频道索引: @TGSearchCNBot
📂 搜索群: @XiuerSearch
☁️ 云盘合集: @XiangxiuNBB
🎬 精品影视: @Oscar_4Kmovies

广告/合作: @XiangxiuerBot
我们不只是搬运资源,更在传递好奇与创造的力量
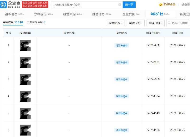
#小米 申请小恐龙图形商标,或为 #Redmi 大魔王 KINO】

#小米科技有限责任公司 新申请图形商标,外观形似小恐龙,或为 #Redmi大魔王KINO
#大魔王 KINO首次现身是在 2019 年 12 月 10 日的 Redmi K30 发布会上,同时推出了大魔王 KINO 搪胶公仔套装,69 元/套,内含 KINO、HOHO、大魔王贴纸。并且Redmi 手机中官方主题商城里还提供了 KINO 官方主题和官方动态表情。

🗣PS:小恐龙标志,Redmi用户请打开自己当时买手机盛装的盒子,手机盒背面就有
-------------------------------
🏠频道 @jianjiaoPD
🤖投稿 @ZhuliyerBot
#本篇文章有点长请耐心看完哈都是精华啊

【实测:通过换绑
#微信 #手机号 可以开启 #CallKit

#微信 iOS 最新版
手机号为 #GoogleVoice

方法及步骤:
1 、国区手机号换绑为 GV,目前微信设置里面没有开启系统通话的选项;
2 、大概 10 来分钟左右,再打开微信弹窗提示账号退出;
3 、再次登录会弹出一个英文版的协议需要同意;
4 、登录成功后,在设置选项能够找到「语音通话用系统电话接听」的选项;
5 、测试锁屏接听微信语音通话

-------------------------------
微信更改绑定的号码在一段时间内有次数限制,不要频繁操作,不然会提示你,请明天再试
群友反馈更换成功例子👇🏻
https://t.me/jianjiaoQUN/184790

更换成功:后可能会出现某些小程序或服务无法使用人脸识别,或某些小程序或服务在登录时提示账户信息错误。
例如:这种情况👇🏻
https://t.me/jianjiaoPD/2417?comment=184786
-------------------------------
⚠️⚠️⚠️
此操作有可能不可逆
“你好,给你的使用造成不便,我们深感歉意。关于你反馈的问题,目前我们暂不支援 Wechat 用户将帐号绑定至中国大陆手机号(+86 ),敬请期待日后的更新。如有不便,还请见谅!感谢你对 Wechat 的支持和理解!”
原因如下:
为了保护微信帐号安全,目前30天内只能解绑最后一次的绑定方式(QQ/手机/邮箱),比如:最近30天内依次绑定了手机、邮箱和QQ号码,最后一次操作的绑定关系是QQ号码,则从最后一次绑定算起,30天内只能解绑QQ号码,无法对其它绑定方式进行解绑,30天后再更换微信绑定方式即可。

⚠️⚠️⚠️⚠️

🗣Via:
具体详细情况👇🏻点击下方链接查看
https://www.v2ex.com/t/798484
-------------------------------
🏠频道 @jianjiaoPD
🤖投稿 @ZhuliyerBot
【Telegram #诈骗 旧手法新套路】

近日,某 #诈骗 团伙活跃于Telegram,伪装成女性,说“老公出差”、“求聊骚”、“晚上寂寞难耐”等理由引诱你与其私聊,以认识一下为由,骗你开视频裸聊,然后深入了解之后让你下载APP遥控跳蛋,进行更刺激的画面。
其目的是为了录下你拿着你的垂直握把和骗子的真人视频,其下载的APP实施盗取你通讯录或进行锁定手机,对你实施敲诈,(就是不给钱,她就把视频群发到通讯录)请各位群友别上当哈!
如遇到类似情况的,请拉黑、删除、不予理会,就是最好的处理方式,不论如何,一副死猪不怕开水烫的厚脸皮,是让你免受损失的最好状态!
-------------------------------
🏠频道 @jianjiaoPD
🤖投稿 @ZhuliyerBot
#三星 官方正式宣布,9 月 1 日 19:00 将举行国行三星 Galaxy Z 系列新品发布会

🗣PS:全新系列耳机,手表等都会在发布会展出哦
-------------------------------
🏠频道
@jianjiaoPD
🤖投稿
@ZhuliyerBot
【外国男子拍下近距离遭 #雷击 画面】闪电鞭炮般炸裂 致其失明失聪10秒

🗣PS:我的妈呀 太吓人了这也,被p住直接变成焦炭了吧
Via:海客新闻
#Tiktok #阿里云盘
#Testflight 测试版两大应用分享

#Tiktok
👉🏻https://testflight.apple.com/join/plxN3myo

💚#阿里云盘
👉🏻https://testflight.apple.com/join/10HVYOC9

🗣PS:速度哈,不然测试人员满了,你们就不去喽🤣🤣
-------------------------------
🏠频道 @jianjiaoPD
🤖投稿 @ZhuliyerBot
全网移动电话卡“#一证通

安全系数:
(数据由 #中国信通院 #中国电信 #中国联通 #中国移动 提供,所以放心查放心用😌

🗣PS:实际用途:
就是查查你名下几张电话卡的,其他的没啥特别的,查询结果将在48小时内通过短信通知,请注意查收。其实没这么久,你发送完之后很快短信就发出来了

①查询链接 ②备用查询链接
查询口令:3618
#壁纸 ▎美景美物尽收眼底

“原图”在下方评论区哦🎉
-------------------------------
🏠频道 @jianjiaoPD
🤖投稿 @ZhuliyerBot
Back to Top